Spanish Flag

ULMA Shaft Platform (KSP)

Versatile and adjustable

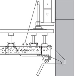
The ULMA KSP System works in conjunction with the BMK Climbing System and provides formwork support on the interior sides of concrete building construction.

The KSP is a platform for the support of formwork and is used for internal building faces, elevator and staircase shafts, hollow piers or other types of cavities where formwork support is necessary. It is usually combined with conventional climbing formwork systems on the outside faces of the wall.

Advantages:

  • Covers any distance with completely standard and modular material, mainly walers and timber beams.
  • Versatile gravity pawl bracket adaptable to all waler types and different lengths.
  • Easy adjustment of all kinds of formwork.
  • Two solutions depending on anchor type.
  • Gravity pawl bracket with GP box-out: used in civil engineering construction projects, in solutions for hollow piers and gaps between walls. The bracket rests on the bottom side of the cavity made while pouring the previous stage.
  • Folding bracket with adjustable bracket: commonly used in building construction, especially for fair-faced concrete walls. No holes are required in the wall. The adjustable bracket rests on the folding bracket, fixed to the wall with DW15 cone.


Comparison with traditional systems:

CharacteristicsTraditional SystemsGeoplast Reusable Formwork
Hindrance-Modular system
Waterproof10%100%
ResistanceLimitedUp to 60 kN/m2
Concrete adherenceRequires dismantling agentsBeing made of plastics, GEOTUB PANEL does not stick to concrete
Protection10%The best protection for the columns until the end of the operations
PlumbingRequires long operations and it is often inaccurateQuick and accurate thanks to the external structure that allows easy shoring and plumbing
Dismantling agentsRequiredNot required. Everitt Site Supplies recommend 'Kleen Kote' protection and release formula to maintain your forms in top condition.

Enquire about this product

Thank you for your enquiry about this product. We appreciate your interest and will be in touch as soon as we can.
Sorry, there was an issue sending your enquiry. Please try again or contact us directly.